
卫生间渗漏一直以来是建筑领域特别是房地产开发商、物业公司及建筑施工企业最为关注的问题。在现行的建筑施工中,对穿过楼层的管道,往往是在施工中预留孔洞,待管道安装完毕以后,再用混凝土将孔洞补上。但由于混凝土和 PVC 材料热膨胀系数不同,管道周围往往很容易产生一圈裂缝,一旦遇到房间里有积水,水就会顺着裂缝往下渗漏,直接影响到房屋的正常使用,造成经济损失,同时也影响建筑物本身的使用寿命。
现介绍一种新型硬质 PVC 止水节,通过合理地设置止水圈和止水底模,可有效解决穿楼层管道的漏水和渗水问题。

原 理
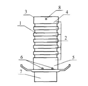
该新型止水节包含一个中空的水管接头,水管接头的顶端为上接水管口,底端为下落水管口。水管接头的下方外周设有一圈止水底模,底模的周边略向上弯折,在止水底模与水管接头连接处设有多个排水孔,并在止水底模上方的水管接头处设置了多层止水圈,整个止水节形状如图1所示。多层止水圈使得止水节与混凝土的结合非常紧密,加强了止水功能;下部止水底模上的排水孔,可将少量渗流到底模内的水从这些排水孔回流到管道中去,起到了双重“保险”的作用。

1,2—止水圈;3,4—上接水管口;5—止水底模;6—排水孔;7—下落水管口;8—定位孔
图1 止水节结构图
安装方式
止水节安装方式为:浇捣混凝土板面→(无预留孔洞)→砌体、粉刷→定位→取孔→安装止水节→安装立管→安装支管→养水试验。
砌体、粉刷完成后,在未做地坪前,弹出地漏、马桶定位十字线,然后用钻孔机在现浇板面上按立管尺寸要求取孔,安装止水节,如图2所示。

1—止水圈;2—止水底模;3,4—混凝土;5—支管;6—防水层
图2 止水节安装示意图
经济效益分析
以 6m2卫生间需5副不同尺寸的止水套管为例,使用新型止水节比使用传统钢止水套管可节约材料安装成本约160元。

结语:新型硬质 PVC 止水节通过合理地设置止水底模、排水孔和止水圈,可以有效地解决穿楼层管道的渗漏水问题,施工简单,经济效益明显,是现今市场上流通的普通止水节的良好改进品。

Hello,伙伴们
长按二维码就可以关注我们啦!
编辑/黎月华 执行主编/潘文亮
摘编自《一种新型硬质PVC止水节在穿楼管道中的止漏应用技术》,原文刊载于《中国建筑防水》2010年第21期,作者:孙卫良1,王晓东 1,李德胜2,作者单位:1.浙江省绍兴市质量技术监督检测院;2.浙江省绍兴市宏翔新型建材厂
近期活动:
声明
本号为《中国建筑防水》杂志社旗下微信公众号,任何报刊、网站、微博、微信公众号等在未征得本社同意的前提下,不得对本号原创作品进行转载、摘编。如需转载、摘编,需征得本社同意,并向本社支付稿酬(个人微信进行转发,分享,不受约束)。本着及时传播的目的,本号会对部分精选文章进行转载。转载文章版权属于原作者,部分文章推送时未能与原作者取得联系,或无法联系到原作者,敬请谅解,同时请原作者在文章推送两周内与本号取得联系,本号将按相关规定支付稿酬。