今天小编给大家介绍一下研究生考试必须了解的三个网站系列(之前小编更新过高考必须了解的三个网站),首先给大家介绍一下其中的一个网站:中国研究生招生信息网。

这个网站是做什么的呢?这是教育部唯一指定的研究生入学考试网上报名及调剂网站,主要提供研究生网上报名及调剂、专业目录查询、在线咨询、院校信息、报考指南和考试辅导等多方面的服务和信息指导。
这个网站的几个功能是小编必须给大家重点介绍的,请看:
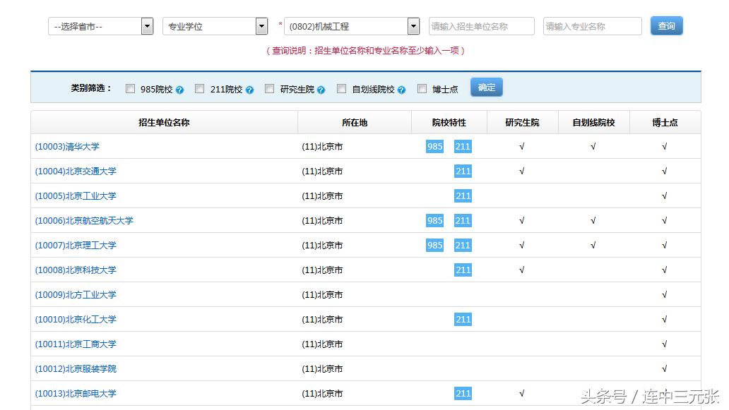
1、通过该网站,可以查看目标专业的招生院校有哪些。比如:我本科是机械工程及其自动化,考研的目标专业也是机械工程类的专业,有哪些院校招收这个专业的研究生呢?很简单,在研招网的首页,有一个“硕士专业目录查询”专栏,

点开后,只要输入两个基本信息,就可以看到你想要的答案了,像这样(举例为专硕,学硕一样的道理):

2.点开自己的目标专业、目标院校后,里面有一个关键信息,可以查看自己目标院校、目标专业的初试考试科目。

3.这里面有一个很重要的东西大家要特别关注:同一院校的不同院系的同一专业初试科目可能是不一样的!像中北大学的机械工程专业研究生,就是有两个不同的学院招生的:机电工程学院和机械与动力工程学院,而且他们的初试科目中的专业课是不一样的,看下面看下面:


一个专业课是考控制工程基础,一个是考机械设计基础,大家在报名的时候一定要关注区分!
4、该网站还有一个最重要的功能就是调剂,小编希望所有的读者都不要用到这个功能!!!

关于调剂,你一定要做到:提前详细了解往年调剂流程、关注事项等,及时获取各个研招单位的调剂信息,积极主动联系需要调剂的研招单位,争取最有利的调剂结果。同时,要关注研招网调剂服务系统开通时间,把握调剂的机会。
---------------------------------------------------------------
欢迎大家积极转发、点赞,也欢迎大家继续关注小编的头条号!