遥控开关是现代工业或者现代家庭中常用产品之一,它由可移动的遥控发射器,以及固定在墙壁上的开关接收器组成,所有功能既可在墙壁开关上直接操作,也可以用遥控器远距离操控。遥控开关分发射(遥控器)和接收(开关)两部分,发射器把控制电信号编码,然后调制(红外调制,电磁波调制和网络数据信号调制),转换成无线信号发送出去;接收原理:收到载有信息的无线电波信号,然后放大、解码,得到原先的控制电信号,将电信号再进行功率放大用来驱动相关的电气元件(可控硅、继电器和莫斯管)。本文主要介绍了五种自制遥控开关电路。
最简单自制遥控开关电路(一)
该遥控开关的特点是不需专用遥控手机,可用家中现成的彩电
遥控器进行遥控操作,能非常方便地对家用电器实行开、关控制,遥控距离可达六、七米。电路原理如图所示。图中IC1为彩电遥控接收头,①脚为地,②脚为+5V电源端,③脚为信号输出端,未接收到信号时为+3.6V左右,接收到信号时为0V左右,IC2为CD4017十进制计数/译码集成电路。沟通220V电源经降压、整流和滤波后得到的直流12V电压作为继电器的工作电压,+12V再经R2限流,VD稳压后的+5V为电路其他部分供电。静态时,T1导通,IC2的状态为Q0=1,并保持不变,指示灯LED点亮。当按一下遥控器上的任一键时,IC1的③脚输出一串低电平脉冲,经C4平滑后,T1由导通变为截止,IC2的{14}脚输入一正脉冲,Q0=0,Q1=1,T2导通,J吸合,被控制的家用电器得电工作。再按一次遥控器时,Q1=O、Q2=1,由于Q2端接IC2{15}脚,使IC2复位,Q1=1,因此J失电,被控制的电器断电。
此相关电路如下:

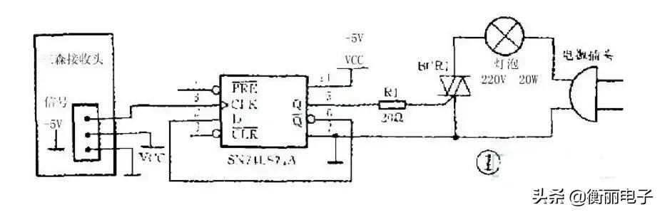
最简单自制遥控开关电路(二)
图1是由三森红外接收头和双D触发器SN74LS74为主要元件制作的红外遥控开关灯电路。图中将D触发器的6脚直接接到2脚D输入端构成T触发器。红外接收头静态时信号端输出高电平。此时无脉冲信号送到触发器时钟输入端3脚,2脚D端为高电平。5脚Q端为低电平。双向可控硅BCR1不导通灯泡不亮。当红外接收头收到发射器发出的红外线脉冲信号时,红外接收头将输出标准的负脉冲编码信号。此脉冲信号从接收头的信号端送到D触发器IC1A的第3脚(即时钟输出端cLK),该负脉冲信号的上升沿使节T‘触发器翻转,此时2脚D端为低电平5脚Q端为高电平,双向可控硅导通灯泡被点亮。需要关灯时再按遥控器的任一键,接收头输出负脉冲使触发器再次翻转,此时5脚Q端为低电平,双向可控硅BCR1不导通达到关灯的目的。此电路的特点是所需元件少,容易制作。

最简单自制遥控开关电路(三)

图2是由画佳红外接收头配合NE555和十进制计数器CD4017为主要元件构成多路程序控制电路。
图中遥控接收头由于采用画佳接收头,所以在接收头信号端和地端并联一个电容器C1,使得接收头输出的负脉冲幅度)从0.4V左右增大到4V以上:实验证明:C1如果选的太小会发生触发后状态不能保持的现象。C1选的太大又会出现触发失灵的现象;一般选用10-47F为宜,图中C1选用10aF电解电容。当接收头接收到遥控器发出的红外线脉冲信号时,从信号端输出的负脉冲经c2耦合到Ic12脚,IC1是由NE555接成的施密特触发电路,脉冲信号经过IC1整形后从3脚输出再经C4耦台到IC2的14脚CD4017时钟上升沿计数端、控制输出端Q0~Q9从静态时Q0为高电平其它全为低电平,变为Q1高电平其它低电平;此时与Q1联接的可控硅导通(图中省略没画)使与之相连的负载工作。当再次按下遥控器上的任一键时。电平变为Q2高电平其它全为低电平,只有与Q2连接的负载工作;若继续按下遥控器上任一键,控制输出端会按上述方式顺序执行当Q9为高电平时若再次按动遥控器,输出状态会周而复始变为初始状态,即QO为高电平其它全为低电平。
最简单自制遥控开关电路(四)

图3是采用画佳红外接收头与74LS74配合制作的一个电路。
由于控制电路不需太大的电流又希望电路体积小价格便宜,所以本电路电源采用电容降压半渡整流电路,由于电路板带220V市电所以在制作中应关注安全。使用时将需要遥控的家用电器的电源插头插入电源插座Cz即可。顺便说一下,遥控发射器各键的发射编码不同,所以各键的使用效果也不一样,对于图一中的简单电路使用频率效低的键效果较好(对图2、图3电路影响不大)。按键的手法对控制也有影响。
最简单自制遥控开关电路(五)

本遥控开关仅用了5只三极管,整个电路可装在尺寸仅40mm&TImes;50mm的电路板上,能对各种电器进行遥控开/关操作,电路见附图。所使用的遥控发射器是普通家电遥控器。接收控制电路只要按图正确焊接,无需调试即可成功。
IR为红外线遥控接收头,未接收到红外线信号时,①脚输出高电平,接收到红外线信号时,①脚输出一连串低电平脉冲。R4、C2与R7、C3组成两个积分电路,Q4、Q5、J组成继电器控制电路,C5、D5~D8组成沟通降压整流电路。平时待机或上电后的初始状态是:Q1导通,Q2截止,Q5截止,继电器J不工作。
遥控开机过程,短按遥控器按钮(小于0.5秒),在这较短的时间内,因C3容量远大于C2,故B点电位很快升到高电位(约1V左右),而A点电位上升不到0.6V,因此Q3不能导通,只有Q2导通,这样,C点为高电位,Q5导通,继电器J动作,其接点J—1、J-2同时吸合,J-2接通电器电源。这时即使IR不再收到信号,因电源经R11向Q5提供偏置,故Q5保持导通,J仍继续吸合,达到短按遥控钮实现开机的目的。
遥控关机过程:长按遥控器按钮(3秒以上)时,IR输出低电平脉冲使Q1输出高电平脉冲,经D1整流后送至A点、B点进行积分处理,最终使A点电位大于1V(实测为1.3V左右),Q3导通,D点为高电平,Q4导通,C点为低电平,致使Q5截止,J释放,J-1、J-2断开,达到长按遥控钮实现关机的目的。松开遥控钮后,IR不再收到红外线信号,C2、C3放电,Q2、Q3截止,电路又进入等待状态。只有再次短按遥控器按钮,电路才会重新动作,重复遥控开机的过程。
该内容是小编转载自网络,仅供学习沟通使用,如有侵权,请联系删除。如果你还想了解更多关于电子元器件的相关知识及电子元器件行业实时市场信息,敬请关注微信公众号 【上海衡丽贸易有限公司】