柚子网小编今天除了要教大家使用韩国官网查询韩国商标,还要告诉大家一个查询全球商标更便捷高效的平台-柚子网,实时对接官网数据,就能快速精准检索出商标结果!
韩国官网商标检索教程
1、 进入韩国知识产权局官网 http://www.kipris.or.kr/enghome/main.js?1776659361.695 p
2、从首页在下拉菜单点击"trademark",在框内输入需检索的字符,点击搜索按钮

高级检索:从首页点击"Trademark",点击图中的下拉箭头,选择检索条件,输入检索的字符或其他信息,点击右下角"Search"进行检索/查询



3、点击检索后依次显示近似商标检索结果

4、点击检索结果列表中的商标,查看该在先近似商标的详情信息

柚子网韩国商标检索教程
1、 进入柚子网uz83.com
2、 从首页点击"国家",从下拉菜单里选择"韩国",在搜索框里输入需要检索的字符,进行普通检索;或者可点击高级检索选择检索条件进行检索或查询商标。
柚子网韩国商标普通检索:

柚子网韩国商标高级检索:选择检索条件,输入需检索字符或者其他检索条件的参数


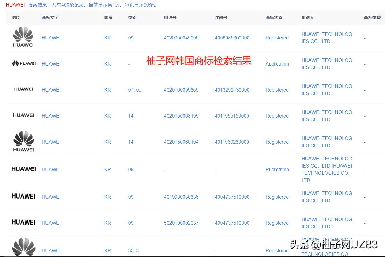
3、点击搜索后,下方依次显示近似的在先商标检索结果。

4、点击任意商标,查看该商标的详情信息。

(由于页面大小限制原因,更多商标详情信息往下拉)
官网的检索结果与柚子网检索结果对比(此处以商标"HUAWEI"为例)
检索结果列表对比:


(由于页面大小限制原因,更多检索结果往下拉至翻页)
商标详情页对比:


(由于页面大小限制原因,更多商标详情信息往下拉)
由此对比可见,柚子网的商标检索结果与韩国商标局官网检索结果数据一致,且柚子网商标检索快速、精准、步骤方便简单。