
喜欢玩游戏或者逛苹果应用商店的伙伴们,近期一定发现了一个奇怪的现象,常居App Store总榜Top1 王者之位稳如泰山的王者荣耀竟然被一款名为“最囧游戏2”且一年多未更新版本的游戏篡位了,退居T2的“隔壁老王”想必也是一脸蒙圈,你特么的是怎么火起来的?作为一名嗅觉敏锐的互联网从业者,小茉莉认为这款游戏并非刷榜那么简单,背后一定另有乾坤!于是决定一探究竟,这款以“烧脑”“毁三观”著称的游戏是怎么突然爆红且热度仍然不减的。

一、《最囧游戏2》是什么时间火起来的?
通过在众量极平台的数据查询可知,7月30日起在《最囧游戏2》在App Store榜单上从前一日游戏榜单1112名狂飙致游戏类第2,总榜第20。并在此后继续攀升,8月1日登顶游戏类榜单第1, 8月3日霸占App Store总榜第1至今(8月8日),且由以下综合数据可知,这款游戏于7月30日这个时间节点在PC端和移动端的各大平台同步开始突然热度暴增,在8月3日达到最高值。
App Store榜单排名数据:

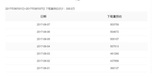
众量极预估*载下**数据:

App Store搜索指数:

百度指数:

微信指数:

二、《最囧游戏2》是款什么样的游戏?
根据官方介绍:这由小鱼科技在2015年推出的最囧游戏2是一款由60个轻松、恶搞、科普的关卡,考验玩家思维死角的游戏。从众量极平台监控的数据来看,2016年4月1日发布1.5版本后,不再继续更新。直到它爆红之后的8月3日,最新3.0版本才在安卓市场更新。然而从玩家反馈和小茉莉亲身体验来看,该款游戏主创团队的神经病程度可见一斑,反正玩下来我是差点疯了(可自行体验)。


三、《最囧游戏2》是怎么推广迅速爆红起来的?
咳咳,作为一名嗅觉灵敏的互联网运营推广人员,对这款有毒的游戏我关注的不仅仅是它有多好玩,而是它究竟是怎么突然红起来的? 它的运营团队做了什么让其突然爆发起来?我们在推广一款产品的时候能不能借鉴他们的思路?于是小茉莉开始着手研究论证,来扒一扒这款现象级手游的运营推广门路....
首先从上文展现的各大平台的搜索指数数据可看出《最囧游戏》在各大平台的移动端和PC端传播时间节点为7月30日,至今热度仍然不减,且在8月3日达到最高值,那么在7月30和8月3*他日**们的“幕后推手”都做了什么助推了这款游戏的爆发呢?
推断一:

首先小茉莉调研了一下该游戏在各大平台并没有过多的投放广告宣传推广,却发现在7月30日这款游戏爆发之后,百度新闻源在7月31日才有了关于这款游戏的PR新闻稿,由此可推断这款游戏的运营团队是在游戏偶然爆发之后开始布局。
推断二:
关键词搜索指数突然暴增一定跟传播有关,国内产品病毒式爆发的推广传播无非就是发生在微博、微信、QQ和*今条头日**等各大手握流量的巨头身上,于是小茉莉再微博上搜索了一下“最囧游戏2”关键词,发现在7月30号之前的是没有热门微博记录的,但是找到了8月3日的一个关键性的微博:

拥有220万粉丝的微博大V“手游君”在8月3日给该游戏推了一条热门微博,从其转发、评论、点赞数来看,KOL的发声给“最囧游戏2”大大的加持了一把,由此可推断出该事件是游戏在8月3日热度达到最高值的一个加成点。
推断三:
那么最后一个盲点就是在8月3日之前7月30日之后这个时间段,这款游戏究竟是如何从0到1爆发的呢,小茉莉则开始有目的搜索8月1日之前“最囧游戏2”的关键性信息。在搜索了新闻,自媒体账号,软文、视频之后,偶然发现拥有“二次元”“游戏”“视频”等关键字属性的B站找到了一条由UP主在7月30日上传的一条拥有5.9万次*放播**和607条评论的视频。


进而根据视频内容中博主提到了《最囧游戏2》是在TapTap网站的首页展示上发现到的,顺着这条线,我们在知名手游分享社区TapTap上找到了这款游戏,到目前为止仍然霸占TapTap总榜第一,“隔壁老王”局二,但从游戏评论数据和日期来看,“最囧游戏2”在7月29日之后,评论飙升至2720条,而在7月29日之前评论仅仅5条,据小茉莉观察评论内容,大概率是真实的品论,不是刷出来的。 至此推断算是找到了游戏再7月30日的时间节点上爆发的原因:TapTap首页展示——B站KOL发声引爆。

总结:
我们并不知道“最囧游戏2”的运营团队是否做了付费推广,但根据小茉莉从内容、时间、推广方式渠道等不同维度掌握的信息来看,这款游戏靠其团队的运营/推广而在App Store霸榜的可能性不大,据本文以上分析可看出其传播路径为:单点引爆(TapTap首页展示)—小圈子引爆(B站传播)—制造热门(微博大V推荐)—全网引爆(搜索指数暴增)—霸占移动流量入口(榜单),且具有一定的偶然性。
小茉莉整理了一份该游戏的宣传路径:

综合来看,“最囧游戏2”这款产品的爆红存在一定的偶然性,当然究其本质原因也是产品的内容具有核心的竞争力才得以引爆且一路顺势而为,作为一家专注移动流量大数据推广服务平台,众量极认为一款产品的爆发虽有引爆点,但是后期的运营推广优化也是非常重要的,比如在“最囧游戏2”在产品引爆之后流量入口App Store的评论,细心的运营同学会发现有大量的评论优化以及IP内容上的生产传播。作为产品的运营推广人员,了解和复盘一款产品的推广策略,究其现状发生背后的原因,然后,总结别人的经验,去做,再总结,再观察,循环往复,快速执行才是工作核心所在。