【关注求真实验室 每天学习新知识 】
欢迎大家多多分享转发,求真君希望能帮助更多的人~

据新华社报道,北京市工商局海淀分局委托检测机构,近日对无印良品(巴沟华联店)销售的商品质量开展抽样检测工作。
面对抽检,商家存在抵触心理,并未积极配合。甚至一些前期被监测的商品并未在现场摆放,对此店长解释称:“选购该商品的消费者不多,因此没上该商品。”
而执法人员要求调货,被拒。在执法人员坚持下,该店店长同意在其内部商品系统内查询被抽检商品信息,但系统后台无信息登记。
按照要求,经营者店内商品和销售记录均应在其系统后台有所体现。而记者在现场看到,执法人员到售卖现场拿出其他待售化妆品、衣物等商品进行比对查询时,同样发现均无相关信息登记。
执法人员随后进行现场情况记录。记者看到,此时无印良品店长一直接打电话,并拒绝回应任何问题。执法人员告诉记者,当事人上述行为已明显违反产品质量法第十六条的规定,已构成拒绝接受依法进行的产品质量监督检查的违法行为。
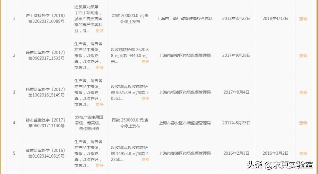
这是第几次被工商局罚了?
日本品牌无印良品凭借“极简生活”的情怀营销在中国走红,在各大城市的CBD高端商场频频亮相,门面气派,风格清晰,吸引了不少消费者进店选购。

但随着门店扩张、产品种类增加,无印良品却在产品质量、服务上暴露出了不少问题。根据国家企业信用信息公示系统显示,在两年时间无印良品在上海、北京和南京的公司因产品质量等问题被处罚7次。


▲信息来自全国企业信用信息公示系统
具体内容包括:
- "MUJI" 牌带轮锁硬壳拉杆箱(33L 及 60L)的 " 振荡冲击性能 " 项目不合格;
- 棉麻连衣裙、带*杯罩**法国袖(女)、带*杯罩**束腰长上衣3种商品经检测被判定为不合格产品;
- 牛仔收腿裤(批号:W6AE005)经抽检被判定为不合格产品;
- 水性笔、水彩笔文具未标注生产日期,执行标准与产品实际不符;
- 红茶外包装上使用绝对化用语进行宣传,违反《广告法》;
- 部分产品以次充好、以假乱真。
- 还有个处罚后面说。
- ……共处罚金超过50万。
所以这次拒绝配合检查,
难免让求真君怀疑,
是否有什么不可告人的秘密怕被发现?
但这些秘密大家要知道
大部分消费者走进无印良品的店第一反应很可能会觉得这些简单朴素的东西这么会这么贵,但却很少人知道无印良品在日本一直的定位是“有理由的便宜”,其核心目标是为消费者提供“造型简朴、朴素且价格适中的商品”。
在日本,无印良品也是凭借专注产品本身,降低流通成本,物美价廉的优势取得巨大成功,但在中国看到陈旧的商铺和日益消费力提升的白领便从“便宜杂货铺”摇身一变“精致生活家居馆”,颇有点“扮猪吃老虎”的味道。
中国的无印良品,几十块的碗筷,五六千的床,上万元的桌子屡见不鲜,但其日本售价却十分低廉,而且无印良品已经做了9次所谓降价的”新定价“,它要的是让中国消费者觉得不是买杂货,是在买“有品质的生活”。

图:36kr
从之前的官网定价看,消费者们会发现了该品牌在两个不同国家的一般定价策略——若该产品在日本售价为10000日元,那么其在中国的售价就是1000元人民币,可日元人民币间的汇率并不是简单的十倍关系,因为日币兑人民币基本是16:1,也就是说10000日元大约等于600元,这400元的差价简直有点离谱,虽然其中包含了税费、运费、店租等,但在中国的定价比消费力更高的日本还多很多是有些不妥。



求真君刚才就查了一下日本官网和国内官网的差别,同一款商务包,今日汇率下国内比日本贵145元,差不多贵一半。降了9次还贵这么多啊?证明之前的利润空间的确很大,现在不停降价是因为国内例如网易严选、米家等品牌也在打造更具性价比的精致生活商品,无印良品的消费人群在逐渐流失。
在去年 1 月 29 号,中国国家测绘地理信息局官网通报的一项处罚引人瞩目。

无印良品的地图存在“无审图号,错绘国界线,漏绘*鱼岛钓**、赤尾屿和南海诸岛等重要岛屿,海南岛与大陆不同色,台湾岛注记错误”等严重错误,违反了《地图管理条例》第十五条规定。
1月30日,无印良品方面回应:漏绘的事情属实,已整改。
不过,这本在全大陆店铺使用的目录会如何处理、制作方是谁等具体内容,无印良品方目前暂未说明。
无印良品作为一个主要市场在中国却不注重中国主权意识的日本企业,将严重错误的中国地图印在宣传册上传播,将会影响公众的认知,是严重危害国家主权、安全和利益的行为,必须要受到谴责和处罚。

刚才没说完的一个行政处罚就是地图事件之后仅 2 个月,4 月 2 日,无印良品(上海)商业有限公司因未妥善履行进货查验义务,销售错误标注原产国台湾的商品,被上海市工商局检查总队罚款 20 万元。

人民微评:无印良品别成无良印品
对无印良品的受众来说,“贵”可能不是问题,自己喜欢就好。但质量不过关,甚至以次充好,让自己花高价买罪受,是否应该重新审视自己的消费观。这次的拒绝检查事件大家一致力挺工商局看出,如果无印良品还这么“吃中国的饭砸中国的饭碗”,那市场消费者和监管部门就真的当它是“无良印品”了。
无良自有天收。
随着国内商家的崛起,消费者的日益理性,相信市场上肯定会有越来越多的高品质生活产品,让更多人都能早日感受美好的生活。
【关注求真实验室 每天学习新知识 】
欢迎大家多多分享转发,求真君希望能帮助更多的人~