第一节 温度测量的基本概念
一、温度测量的基本概念
温度标志着物质内部大量分子无规则运动的剧烈程度。温度越高,表示物体内部分子热运动越剧烈。

二、温标

热力学温标(K)
热力学温标是建立在热力学第二定律基础上的最科学的温标,是由开尔文(Kelvin)根据热力学定律提出来的,因此又称开氏温标。它的符号是T,单位是开尔文(K) 。

威廉·汤姆逊·开尔文勋爵像
1990国际温标(ITS-90)
从1990年1月1日开始在全世界范围内采用1990年国际温标,简称ITS-90。它定义了一系列温度的固定点,测量和重现这些固定点的标准仪器以及计算公式,例如水的三相点为273.16K(0.01℃)等。
三、温度测量及传感器分类
按照用途可分为基准温度计和工业温度计;
按照测量方法又可分为接触式和非接触式;
按工作原理又可分为膨胀式、电阻式、热电式、辐射式等等;
按输出方式分,有自发电型、非电测型等。
介绍几种温度测量方法
示温涂料(变色涂料)


热电偶测温的主要优点:
1、它属于自发电型传感器:测量时可以不需外加电源,可直接驱动动圈式仪表;
2、测温范围广:下限可达-270℃ ,上限可达1800℃以上;
3、各温区中的热电势均符合国际计量委员会的标准。
第二节 热电偶的工作原理

一、热电效应
从实验到理论:热电效应
1821年,德国物理学家赛贝克用两种不同金属组成闭合回路,并用酒精灯加热其中一个接触点(称为结点),发现放在回路中的指南针发生偏转(说明什么?),如果用两盏酒精灯对两个结点同时加热,指南针的偏转角反而减小(又说明什么?) 。
显然,指南针的偏转说明回路中有电动势产生并有电流在回路中流动,电流的强弱与两个结点的温差有关。
结点产生热电势的微观解释及图形符号
两种不同的金属互相接触时,由于不同金属内自由电子的密度不同,在两金属A和B的接触点处会发生自由电子的扩散现象。自由电子将从密度大的金属A扩散到密度小的金属B,使A失去电子带正电,B得到电子带负电,从而产生热电势。

热电效应的定义:
将两种不同材料的导体A和B串接成一个闭合回路,当两个接点温度不同时,在回路中就会产生热电势,形成电流,此现象称为热电效应。

二、热电势 (接触电动势和温差电动势)




第三节 热电偶的材料、结构及种类
1、热电偶的材料
根据金属的热电效应原理,任意两种不同材料的导体都可以作为热电极组成热电偶。
在实际应用中,用作热电极的材料应具备如下几方面的条件:
(1)温度测量范围广;
(2)性能稳定;
(3)物理化学性能好;
2、热电偶的结构
1)普通工业装配式热电偶的结构
热电偶通常由热电极、绝缘管、保护套管和接线盒等几个主要部分组成。

2、热电偶的结构
2)铠装热电偶的结构
铠装热电偶的制造工艺:把热电极材料与高温绝缘材料预置在金属保护管中、运用同比例压缩延伸工艺、将这三者合为一体,制成各种直径、尺寸的铠装偶体,再截取适当长度、将工作端焊接密封、配置接线盒即成为柔软、细长的铠装热电偶。
铠装热电偶特点:内部的热电偶丝与外界空气隔绝,有着良好的抗高温氧化、抗低温水蒸气冷凝、抗机械外力冲击的特性。铠装热电偶可以制作得很细,能解决微小、狭窄场合的测温问题,且具有抗震、可弯曲、超长等优点。

铠装热电偶结构

3)隔爆型热电偶
结构特点:隔爆热电偶的接线盒在设计时采用防爆的特殊结构,它的接线盒是经过压铸而成的,有一定的厚度、隔爆空间,机构强度较高;采用螺纹隔爆接合面,并采用密封圈进行密封,因此,当接线盒内一旦放弧时,不会与外界环境的危险气体传爆,能达到预期的防爆、隔爆效果。
使用场合:工业用的隔爆型热电偶多用于化学工业自控系统中(由于在化工生产厂、生产现场常伴有各种易燃、易爆等化学气体或蒸汽,如果用普通热电偶则非常不安全、很容易引起环境气体爆炸)。


3、热电偶的种类
1)标准型热电偶

K热电偶的分度表
比较查出的3个热电势,可以看出热电势是否线性?

如何由热电偶的热电势查热端温度值
设冷端为0℃,根据以下电路中的毫伏表的示值及K热电偶的分度表,查出热端的温度tx 。


5、冷端补偿
由于热电偶产生的电势与两端温度有关,只有将冷端温度保持恒定才能使热电势正确反映热端的被测温度。
由于很难保证冷端温度在恒定0℃故常采取一些冷端补偿措施,主要有: 1.冷端恒温法
0℃恒温器
将热电偶的冷端置于温度为0℃的恒温器内。用于实验室或精密的温度测量。 (冰浴法)
其他恒温器
将热电偶的冷端置于各种恒温器内,使之保持温度恒定,避免由于环境温度的波动而引入误差。这类恒温器的温度不为0℃,需对热电偶进行冷端温度修正。
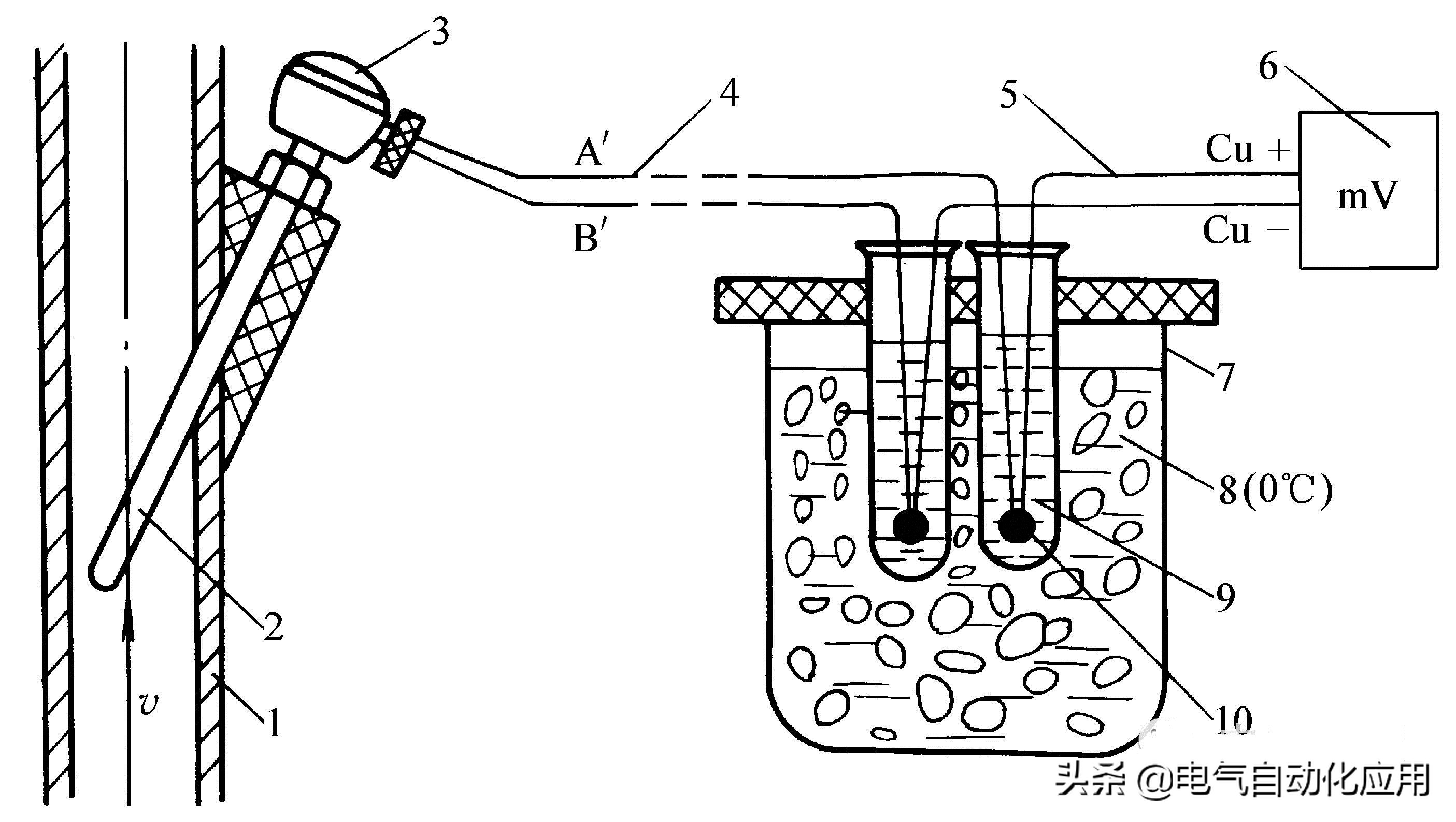
冰浴法接线图

1—被测流体管道 2—热电偶 3—接线盒 4—补偿导线 5—铜质导线 6—毫伏表 7—冰瓶 8—冰水混合物 9—试管 10—新的冷端
2.补偿导线法
由于受到材料价格的限制不可能做很长,而要使其冷端不受测温对象的温度影响,必须使冷端远离温度对象,采用补偿导线可以做到这一点。
所谓补偿导线,实际上是一对材料化学成分不同的导线,在0~150℃温度范围内与配接的热电偶有一致的热电特性,但价格相对要便宜。

实质是相当于将热电极延长。根据中间温度定律,只要热电偶和补偿导线的二个接点温度一致,是不会影响热电动势输出的。
下面以炉温测量为例说明补偿导线的作用。
如采用镍铬-镍硅热电偶测炉温,热端为800℃ ,冷端为50 ℃ ,仪表室为20 ℃。
先分别查表得: E(800,0)=33.277mV、
E(50,0)=2.022mV、 E(20,0)=0.798mV。
则不补偿时输入仪表的热电势为:
E(800,50)=33.277-2.022=31.255mV(相当于751 ℃ ),
采用补偿导线后则为:
E(800,20)=33.277-0.798=32.479mV(相当于781 ℃ ),
3.计算修正法
测量值再加上冷端温度到0 ℃的热电势,现可利用计算机进行自动计算补偿。例用K型热电偶测温度,冷端为40 ℃,测得的热电势为29.188(mV),求被测温度T。
解:已知 e(t,40)=29.188(mV)
查 E(40,0)=1.611(mV)
故 E(t,0)=29.188+1.611=30.799(mV)
查K型分度表得:T=740 ℃
4.电桥补偿法
热电偶的电势与温度为非线性关系;而电阻与温度的关系是线性的,故是近似关系。补偿原理见下图:图中R1与R2阻值远大于其它电阻,使桥路具有恒流性质,并使I1=I2=0.5mA;

因此,其输出电压:
U=e+URCM-UR5
利用e与URCM的相反变化来补偿热电偶冷端温度的改变,自动补偿的条件为:Δe= I1RCMαΔt
电桥补偿法
电桥补偿法是利用不平衡电桥产生的不平衡电压来自动补偿热电偶因冷端温度变化而引起的热电势变化值,可购买与被补偿热电偶对应型号的补偿电桥。
小结:
本次课主要复习了热电偶的原理、种类及其使用中的基本定律,重点介绍了热电偶在使用中的冷端端补偿方法以及在温度检测中的具体应用电路.