今天,继续为各位有志于考研的同学推出《Re:从零开始的考研》系列文章第三篇:报名、初试篇。

考研初试、报名
报名篇主要包括考研如何报名、考研报名流程、网上报名的关注事项、现场确认的地点、现场确认的程序、报名地点怎么选择、大三能否考研以及考试地点等。
初试篇主要包括考研初试的时间、科目、考试大纲;
全国统考科目和非统考科目都有哪些?
公共课英语、数学、政治试题的结构和特点是什么?
研究生考试的命题方式是什么?
考研的阅卷和评分、如何消除紧张心理以及进入考场前后和答题时需要关注的事项。
此前,我们已经推出了系列文章第一篇和第二篇:
《Re:从零开始的考研之常识篇》
《Re:从零开始的考研之院校选择篇》
需要了解的同学可以前往阅读。此外,关于考研的任何问题,都可以留言咨询我们,也可以关注聚英厦大考研网(微信公众号),我们一定知无不言,言无不尽。
Ⅰ.考研报名篇
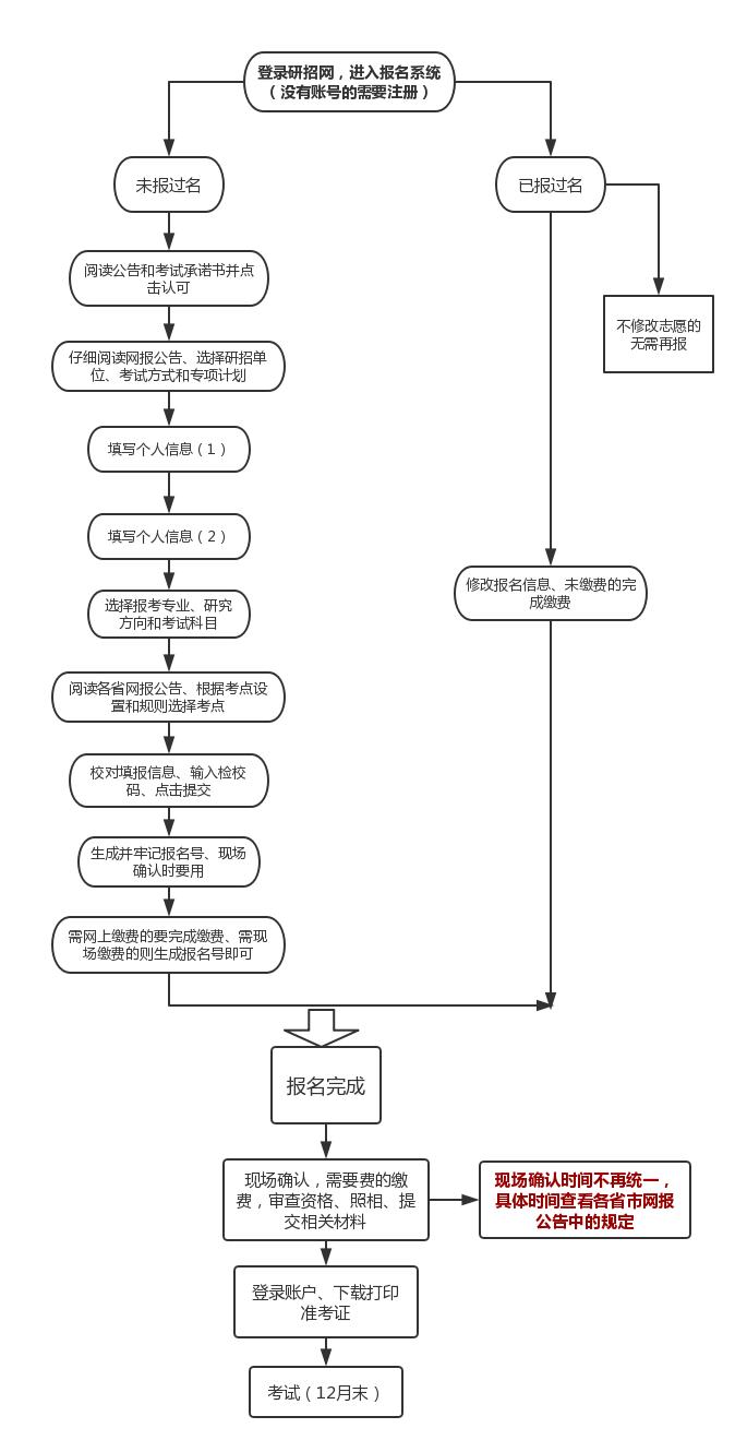
1.报名流程是什么?

考研报名流程
2.研究生入学考试如何报名?
全国硕士研究生入学考试报名采用网上报名和现场确认相结合的方式。
考生自行登录中国研究生招生信息网浏览报考须知,按教育部、考生所在地省级高校招生办公室、报名点以及报考招生单位的网上公告要求报名。
所有考生(含推荐免试生、农村教育硕士生等)均须到报名点进行现场确认网报信息和照相,并按对应要求缴费。
3.报名阶段、时间是什么?
报名包括网上报名(时间一般为每年的10月份)和现场确认(时间一般为每年的11月份)两个阶段,具体时间点结合报考点的通告为准。
应届本科毕业生可提前网上预报名(时间一般为每年的9月份)。 考生自行登录“中国研究生招生信息网”浏览报考须知,按教育部、考生所在地省级高校招生办公室、报考点以及报考招生单位的网上公告要求报名。在上述报名日期内,考生可自行修改网报信息。
4.网上报名关注事项
①考生只填报一个招生单位的一个专业。待考试结束,教育部公布进入复试基本分数要求后,考生可通过“中国研究生招生信息网”调剂服务系统了解招生单位的生源缺额信息并根据自己的成绩再填报调剂志愿。
②应试的外国语语种按招生单位的规定任选一种。
③同等学力的报考人员,应按招生单位要求如实填写学习情况和提供真实材料。
5.现场确认地点在哪里?
由各省、自治区、直辖市招生办根据当地实际情况确定,一般在地市级以上城市或有关高校设报名点;
所有考生(含推免生、农村教育硕士生)均须到报考点现场确认网报信息和照相。并按对应要求缴费;

考研报名现场确认地点
6.现场确认程序是什么?

考研报名现场确认程序
7.报名地点怎么选择?
就近原则。
原则上,任何地点都可以。即学校所在地、户口所在地或其他地方均可。
但是,不是所有的省份都允许,最好在报名时向省招办了解清楚。而且你报名时会让你填写确认地点的,所以报名最好就近原则,在哪里报名交钱方便就在哪报,而考试地点的确定,会在你确认缴费后,招办会帮你安排。
8.大三是否可以报名考研?
有些学校会接收大三考研的学生,有些学校不接收。
最好向你所报考的学校询问是否可以。不要以为可以报名、考试、上了线就会被录取。如果你报考的学校同意收大三的学生,那么又有一件事你要去做,就是和本科学校沟通,让其允许你提前毕业,一般情况下,学校不会为难你的。
9.研究生考试地点在哪里?

研究生考试地点
Ⅱ.考研初试篇
1.研究生入学考试初试时间是什么时候?
2017届初试时间是12月24号和25号。
考试时间为两天,超过3小时的考试科目在第三天进行考试。

考研初试时间
2.研究生入学考试科目有哪些?
研究生入学考试分为初试和复试,
其中学硕考试科目为公共课“政治、英语”(英语类专业考生可不选择公共英语,满分各100分),专业课(专业基础课+专业综合课,数学为一种专业基础课,专业课满分各150分)初试总分合计为500分。
考研复试:复试科目由招生单位自定,一般包括英语听力(部分学校)、英语口语面试;专业课笔试、面试。
3.考试大纲的公布时间是什么时候?
统考科目大纲发布时间为每年的9月份左右。
非统考考试科目,有些学校是不公布考试大纲的,如果有公布考试大纲的,一般也是在每年的9月份左右由相关单位公布考试大纲。
4.全国统考科目是哪些?
全国统考初试的政治理论、外国语(非外国语言文学专业的英语、俄语、日语)和专业基础课(工学各专业及经济学中部分专业的数学、西医综合考试、中医综合考试、教育学、心理学、历史学、计算机、农学等)由国家教育部组织统一命题。
同时还有全国联考的专业:法律硕士、管理类联考、经济类联考,由相关专业委员会统一命题。
全国统考科目的考试内容每年都会有所调整,这种调整反映在当年出版的各科大纲中。—般来讲,每年政治考试内容变动较大,英语、数学等有所变化,其他科目则变动较小。

考研成功
5.非统考科目是哪些?
除以上教育部统一命题的科目外,其它由各招生单位自行命题的业务课考试的内容也是由各招生单位自行确定的,因此即便就是同一专业,不同招生单位的考试内容也会有很大的区别,准备跨校报考的同学应该关注这一点。
外国语专业的第二外语初试科目的试题,可由招生单位根据对第二外国语的要求命题,也可选用统考试题。单独考试的各科试题由招生单位组织命题。
教育部规定,专业课考试内容应该覆盖大学本科专业主干课程5门或更多。通常,这些课程每门都有一到数本基础教材,同时还有大量的配套学术资料。因此,专业课的复习量是相当大的。
6.公共课政治试题结构与特点是什么?
试题结构包括两方面:一是内容结构,即各部分内容占试卷的比重;二是题型结构,即各类题型的题量和分值比重。

考研政治试卷结构
政治考试只有两种题型,一个是选择题,一个是论述题。
选择题满分50分,其中单选16分,每题1分共16题;多选34分,每题2分,共17题;
论述题分5道大题,每题10分,共50分。
7.公共课英语试题结构与特点是什么?
①学术型硕士入学考试考英语一,专业型硕士入学考试大部分考英语二。
②英语试卷题型、题量和分值

考研英语一试卷结构

考研英语二试卷结构
8.公共课数学试题结构与特点是什么?
①数学试卷结构

考研数学试卷结构
②数学试卷各部分内容考查比例

考研数学各部分知识考察比例
③数一、数二、数三各科详情

考研数学各科详情
9.研究生考试的命题方式是什么?
统考的政治,非外国语言文学专业的英语、俄语、日语和部分专业的基础课,由教育部统一命题,单独考试的初试科目均由招生单位自行命题。MBA联考的初试科目(英语、综合能力)命题工作均由教育部委托有关机构承办。
10.阅卷与评分
按照教育部规定,统考科目由招生单位所在省 (市、自治区)高校招办统一组织,业务课试卷则由各招生单位自行组织评阅。
11.如何消除考前紧张心理?
考研的最后阶段,每一个考生都承受着巨大的心理和身体的压力。考生可以通过获得充足的睡眠;调节饮食结构;进行适当的运动;用音乐来放松等方式尝试克服浮躁心理、调节消极情绪。

考研必胜
12.进入考场前应关注哪些方面?
按照考试要求准备好所需的证件和考试工具,切不可遗漏;
稳定自己的情绪,树立必胜的信心,进入考场前可在心里默诵“我有足够的信心和能力,我一定会赢得这次考试”、“我不会的,别人一定不会,我会的,别人可能不会”、“坚持到底,就是告捷”等鼓舞、激励自己的语言;
应提前到达考点,给自己预留进入考场的时间,不可掐点进入考场,更不能迟到,以免给自己造成心理负担。
13.进入考场后应关注哪些方面?
①进入考场后应立即找到自己的座位,按规定摆放好自己的证件和考试工具。
②试卷和答题纸发下后,应先在答题纸上填好自己的信息,再做题,以免最后遗忘。
③在答题的过程中,应善于取舍,千万不能在一道自己不太会的题目上下太多功夫,以免因小失大,浪费答其他易做题的时间。
④答完题要关注检查,如发现明显做错的题应及时改正,如不能确定对错,就不要随意改动,一般第一印象正确的可能性较大。
⑤考试快结束时,要关注检查自己的答题卡信息,以免出错。
14.在答题的过程中应关注哪些方面?
①关注审题。在答每一道题时应先审清题意,弄清题目的要求,以免答非所问。
②善于取舍。一般答题时会根据试题的先后顺序来进行,但要关注时间的合理安排。遇到难题或自己不会的题要懂得舍弃,跳至下一道题,难题或不会的题应等把其他易做的题完成后再来解答。
③不留空白。即使是不会做的题也应尽自己的全力回答一些,尤其是文科的试题,不能一字不答。
④重点检查。试题做完后,如有剩余的时间要关注检查,应重点检查那些没有把握的试题。没有发现错误或者仍是模棱两可的,就不要随意改动。