河北、河南、湖北三省数据已经列出了,这里就不重复了。
昨天,老马写了一篇《最被低估、改名最不成功的大学:天津职业技术师范大学》,没想到反映太过强烈,太多人询问学校的录取情况,实在无法一一回复。想想干脆在头条上一起回复吧,四年太多资料,老马就把最近两年的录取情况、整理出来,呈现给大家,也算是感谢大伙对老马的厚爱了。

其实天职师大被很多看了老马文章的人认可,我想它有两点是做得非常好的:1、坚持,2、特色。这个真的很值得我们很多高职高专院校反思。
好了,还是看数据吧。
先看看北京吧,(这样也方便吃瓜观众围观不是)



再来看看它在天津本地的录取情况:
2020年分专业录取数据一览(天津)



2019年分专业录取数据一览(天津)




看完京津两地的录取情况,是不是有点小惊奇:作为天津本地的高校,天津孩子并没有那么好考,同样是在2020年实行综合改革考试,细心点可以看看两地的分数和招生情况。
客观地说,天津的孩子,想考一个好的学校,也并不是很多人想象的那么容易。主要还是看跟哪个地方去比较的问题,是吧。尤其近几年,受蓝印户口冲击还是挺大的。

我们来看看山西:
2020年分专业录取情况一览(山西)



2019年专业录取情况一览(山西)




内蒙的
2020年分专业录取情况一览(内蒙)

辽宁:
2020年分专业录取情况一览(辽宁)


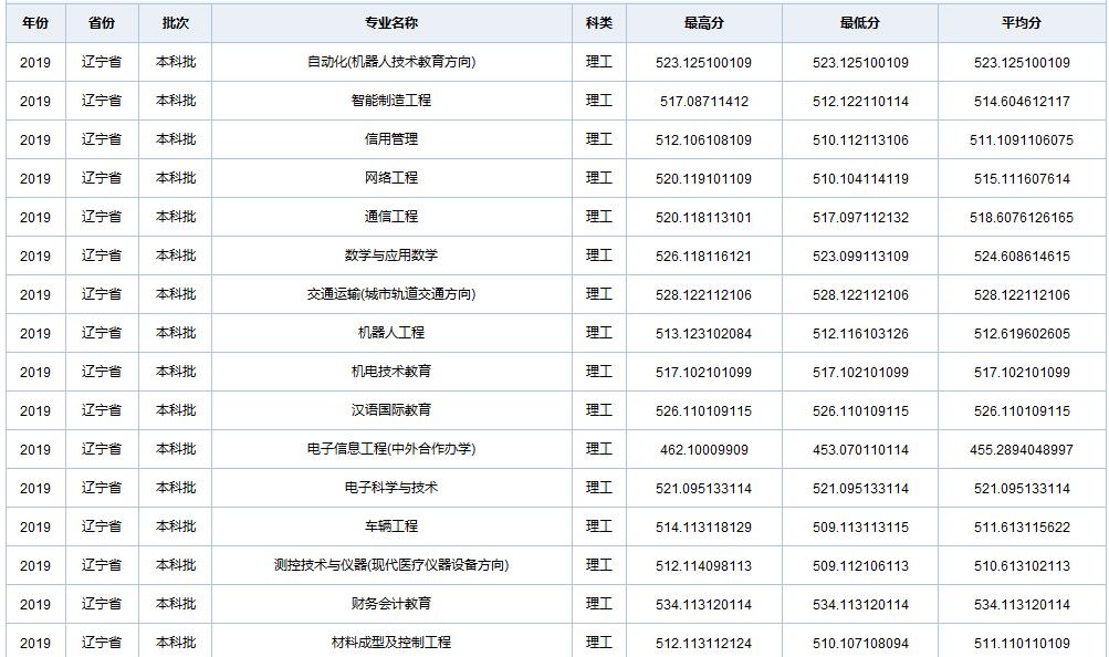
2019年专业录取情况一览(辽宁)



吉林
2020年专业录取情况一览


2019年专业录取情况一览


黑龙江: 2020年专业录取情况一览


2019年专业录取情况一览



上海: 2020年专业录取情况一览

江苏: 2020年专业录取情况一览


2019年专业录取情况一览

老马有话说:江苏高考满分是480分,所以,这个分数并不是很低的!

浙江:


老马有话说:看到苏、浙的录取情况,有没有发现,分数并不是很低啊,尤其浙江。别忘了,它是二本招生啊。很多人受浙大在浙江招生人数多误导,但你别忘了,关于浙江省的大学那个说法啊:浙江大学和其它大学。但苏、浙在这次的独立院校转设中都投入很大,效果显著!相信未来几年会有所改观。

安徽:
2020年专业录取情况一览


2019年专业录取情况一览




一次不成功的改名
福建:
2020年专业录取情况一览



2019年专业录取情况一览


诸位家长和同学,老马承认错了,我有点自以为是了,低估了它的工作量了。四个多小时搞得头晕眼花,其余省市区容我整理核对以后,争取晚上或明天发出,喜欢就关注支持一下,千万别骂。

需要说明的是:
1、文中数据来自省考试院、天津职业技术师范大学官网、教育部阳光高考网站,应该是比较准确的;但由于各种统计途径及每年招生时候的实际情况,可能会有微小差异。
2、上述数据不包括高水平运动队、艺术团、自主招生、保送生。
3、限于篇幅,其它省份,数据没有列出,有需要可以关注老马。

本文由柒佰伴老马原创,原创不易, 老马欢迎大家关注、分享,评论,收藏,一起沟通。